首頁
公司介紹
新聞中心
組織機構
服務理念
售後服務
聯系我們
産品中心
xwzx.png

新聞中心

閥門結構圖

您的位置: > 新聞中心 > 閥門結構圖 >
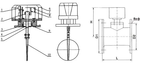
ZSJZ絲扣水流指示器結構圖
來源:www.fm058.com作者:上海凱利科閥門有限公司更新時間:2023-03-18 02:03:20

【結構圖片】

【結構說明】

上海凱利科爲您提供ZSJZ絲扣水流指示器結構圖,本結構圖希望對您有所幫助。

1、ZSJZ絲扣水流指示器結構設計的主要依據國家相關标準規定設計。

2、ZSJZ絲扣水流指示器所采用的通用做法和标準構件圖集。

3、如有特殊ZSJZ絲扣水流指示器構件需作結構性能檢驗時,應指出檢驗的方法與要求。

4、ZSJZ絲扣水流指示器主要根據剖面、長度、高度、外形等作出說明。

5、ZSJZ絲扣水流指示器所選用結構材料的品種、規格、性能及相應的産品标準。

【結構總結】

ZSJZ絲扣水流指示器結構主要是給安裝單位提供具有更好的了解該ZSJZ絲扣水流指示器的外形結構、使用時考慮到工況、環境等因數在應用中有着更合理的計劃規範,不會在安裝時産生空間使用不合理等常見問題。本結構圖所屬上海凱利科閥門有限公司提供,并提供相關外形尺寸,在應用中可以作爲參考。

您是第   位浏覽者


Copyright ©2011-2022 上海凱利科閥門有限公司,版權所有。 京ICP證000000号

銷售電話:021-31001158

手機号碼:13816746668 陳國輝/經理

電子郵件:klkvalves@126.com@126.com

主營産品:球閥,閘閥,蝶閥,截止閥,止回閥,調節閥

本周熱門:不鏽鋼阻火器全天候呼吸閥氣動球閥氣動蝶閥氣動刀閘閥氣動調節閥電動球閥電動蝶閥電動刀閘閥電動調節閥不鏽鋼球閥不鏽鋼閘閥不鏽鋼截止閥不鏽鋼止回閥不鏽鋼電磁閥高壓電磁閥高壓球閥波紋管截止閥

官方網址:www.fm058.com